锘?!DOCTYPE html PUBLIC "-//W3C//DTD XHTML 1.0 Transitional//EN" "http://www.w3.org/TR/xhtml1/DTD/xhtml1-transitional.dtd">

瀹夎鍑嗗
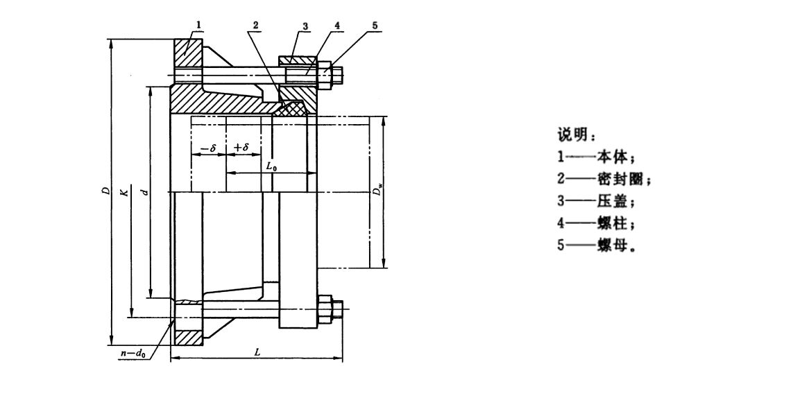
1銆丄F鍨嬫硶鍏板紡鏉懼浼哥緝鎺ュご瀹夎鍓嶏紝搴旀寜鏂藉伐鍥炬鏌F鍨嬫硶鍏板紡鏉懼浼哥緝鎺ュご鐨勫瀷寮忥紝瑙勬牸錛屼紶鍔涜灪鏉嗚緗瓑錛屽簲紜絎﹀悎璁捐瑕佹眰銆?br/>2銆佹寜瀹夎璇存槑涔﹀拰鏂藉伐鍥炬牳瀵笰F鍨嬫硶鍏板紡鏉懼浼哥緝鎺ュご鐨勪幾緙╅噺鎴栬皟鑺傞噺錛屼嬌AF鍨嬫硶鍏板紡鏉懼浼哥緝鎺ュご鍦ㄥ畨瑁呭墠澶勪簬鏈浣崇姸鎬併?br/>3銆佹硶鍏拌繛鎺ョ浠剁殑娉曞叞鍨嬪紡瑕佷笌AF鍨嬫硶鍏板紡鏉懼浼哥緝鎺ュご鐨勬硶鍏頒竴鑷淬?br/>鏁瘋錛屽畨瑁?/strong>
1銆佸畾浣?br/>1.1銆佹墍鏈堿F鍨嬫硶鍏板紡鏉懼浼哥緝鎺ュご鍦ㄥ畨瑁呭墠搴斿鎻掑叆鐨勭瀛愬厛鎸夎姹傚湪綆$鍋氬ソ鎻掑叆闀垮害鏍囪錛岀‘瀹氱璺畾浣嶆椂榪炴帴浠剁殑浼哥緝閲?br/>1.2銆佸畨瑁呯璺腑璁劇疆媯鏌ュ鐨勬儏鍐典笅錛孉F鍨嬫硶鍏板紡鏉懼浼哥緝鎺ュご鐨勫畨瑁呬綅緗簲渚夸簬媯鏌ュ強緇翠慨銆?br/>1.3銆佷嬌鐢ˋ綾伙紝B綾伙紝D綾籄F鍨嬫硶鍏板紡鏉懼浼哥緝鎺ュご褰撹鏈夋敮鏋舵椂搴斿仛鍒版帴澶翠竴绔潬榪戝浐瀹氭敮鏋訛紝鍙︿竴绔潬榪戝鍚戞敮鏋訛紝鎺ュご涓庢敮鏋剁殑璺濈鍧囧簲涓嶅ぇ浜庣瀛愬寰勭殑4鍊嶃?br/>1.4銆佷嬌鐢ˋF鍨嬫硶鍏板紡鏉懼浼哥緝鎺ュご鐨勭閬撶郴緇熷簲姝g‘閫夌敤鍥哄畾鏀灦鍜屽鍚戞敮鏋訛紝鏀灦鐨勬暟閲忓簲涓庣郴緇熺浉閫傚簲錛屾敮鏋跺畨鏀懼湪AF鍨嬫硶鍏板紡鏉懼浼哥緝鎺ュご闄勮繎銆傝鍥?br/>2銆佺剨鎺?br/>2.1銆佺剨鎺ュ墠媯鏌F鍨嬫硶鍏板紡鏉懼浼哥緝鎺ュご鍜岃鐒婃帴綆¢亾綆″彛鐨勫鉤鏁村害錛屽渾搴﹀強鍧″彛錛屽簲絎﹀悎鐩稿叧鏍囧噯瑕佹眰銆?br/>2.2銆佹柦鐒婃椂AF鍨嬫硶鍏板紡鏉懼浼哥緝鎺ュご鍜岃鐒婄閬撶鍙e簲瀹氫綅鍥哄畾錛屼笉搴斾駭鐢熶綅縐匯?br/>2.3AF鍨嬫硶鍏板紡鏉懼浼哥緝鎺ュご鐨勬柦鐒婃寜AF鍨嬫硶鍏板紡鏉懼浼哥緝鎺ュご鐨勭剨鎺ュ伐鑹鴻瘎瀹氳姹傝繘琛屾搷浣溿?br/>3銆?媯鏌ヨ皟鏁?br/>3.1銆丄F鍨嬫硶鍏板紡鏉懼浼哥緝鎺ュご瀹夎鍚庡簲榪涜媯鏌ワ紝鎵鏈夊帇鐩栧潎搴旂粺涓鎷х揣錛屼繚璇佸瘑灝佸湀鍜屽~鏂欏浜庢渶浣崇姸鎬併?br/>3.2銆佹牴鎹渶瑕侊紝灝咥F鍨嬫硶鍏板紡鏉懼浼哥緝鎺ュご鐨勪紶鍔涙潌璋冭妭鑷蟲湁鏁堜綅緗侫F鍨嬫硶鍏板紡鏉懼浼哥緝鎺ュご鍛ㄥ洿搴旀湁瓚沖鐨勭┖闂達紝浠ヤ繚璇丄F鍨嬫硶鍏板紡鏉懼浼哥緝鎺ュご鍦ㄨ璁¤寖鍥村唴鑳借嚜鐢辮繍鍔ㄣ?br/>3.3銆佺閬撳悐瑁呬綅緗笉搴旇鍦ˋF鍨嬫硶鍏板紡鏉懼浼哥緝鎺ュご涓娿?br/>3.4銆佺‘璁ゆ墍鏈夊鍚戞敮鏋訛紝鍥哄畾鏀灦鏈紜畨瑁呬箣鍓嶏紝涓嶅簲榪涜鍐呴儴鍘嬪姏璇曢獙銆?/p>
AF鍨嬫硶鍏板紡鏉懼浼哥緝鎺ュご鐨勯夌敤
AF鍨嬫硶鍏板紡鏉懼浼哥緝鎺ュご鑳藉惛鏀剁閬撳洜鐑儉鍐風緝褰㈡垚鐨勮醬鍚戜綅縐伙紝浣嗕笉鑳芥壙鍙楄醬鍚戝帇鍔涙帹鍔涖?br/>AF鍨嬫硶鍏板紡鏉懼浼哥緝鎺ュご榪炴帴閫傜敤浜庣寰勮緝灝忕殑涓鑸璺?br/>AF鍨嬫硶鍏板紡鏉懼浼哥緝鎺ュご閫傜敤浜庡湪鍩庡競綆$綉緋葷粺涓寰凞N500浠ヤ笅鐨勭璺繛鎺ャ?br/>AF鍨嬫硶鍏板紡鏉懼浼哥緝鎺ュご閫傜敤浜庢槑璁撅紝鍩嬪湴鏁瘋鎴栫娌熸暦璁撅紝浣嗕笉搴旂洿鎺ュ煁璁句簬澧欎綋鎴栨販鍑濆湡鍐呫傛硶鍏拌繛鎺ュ湪鏆楄鏃跺簲璁炬湁媯鏌ュ銆?/p>
AF鍨嬫硶鍏板紡鏉懼浼哥緝鎺ュご鐨勫畨瑁呭彲鍒嗕負鏄庤銆佸煁鍦版暦璁懼拰綆℃矡鏁瘋絳夋柟娉?
AF鍨嬫硶鍏板紡鏉懼浼哥緝鎺ュご瀹滅敤浜庤埞鑸剁璺郴緇熸椂錛屽簲絎﹀悎鏈夊叧瑕佹眰鍜岃瀹氥?br/>AF鍨嬫硶鍏板紡鏉懼浼哥緝鎺ュご瀹滅敤浜庤埞鑸禝I綰х旱綆$郴鍜孖II綰х緋伙紝浣嗕笉閫傜敤浜庝笅鍒楀満鍚?br/>a錛夌┛榪囧帇杞借埍鍜岀噧鏂欒埍鐨勮埍搴曟按綆$郴
b錛夌┛榪囪揣鑸卞拰鐕冩枡鑸辯殑嫻鋒按鍜屽帇杞界緋匯佸寘鎷┖姘斿拰婧㈡祦綆$郴
c錛夌┛榪囨満鍣ㄥ鎵銆佽揣鑸卞拰鍘嬭澆鑸辯殑鐕冩枡鍜岀煶娌圭緋伙紝鍖呮嫭絀烘皵鍜屾孩嫻佺緋?br/>d錛夊帇鍔涙按闆劇郴緇熶腑鐨勯潪涓繪按綆★紙騫茬緋葷粺錛?br/>
濡傞渶鏈鏂版暟鎹鑱旂郴鍦ㄧ嚎瀹㈡湇
娌沖崡鑹紬綆′笟鏈夐檺鍏徃 鎵嬫満鍙鳳細18638277136 鍥鴻瘽錛?371-64018718 浼犵湡錛?nbsp;0371-64018718 閭錛?50165323@qq.com 鍦板潃錛氬琺涔夊競瑗挎潙闀囪タ鏉?nbsp; 緗戝潃錛?a href="http://www.chengxings.com" target="_self">http://www.chengxings.com